EL ACERO EN LA INDUSTRIA BRASILEÑA

Estrutura de um atuador pneumático

Estructura de un actuador neumático.

Un actuador neumático es un dispositivo mecánico que aprovecha la energía del aire comprimido y la convierte en energía mecánica (fuerza o par) para mover elementos de máquinas, dispositivos industriales...

Estructura de un actuador neumático.

Un actuador neumático es un dispositivo mecánico que aprovecha la energía del aire comprimido y la convierte en energía mecánica (fuerza o par) para mover elementos de máquinas, dispositivos industriales...

Embreagem Centrífuga |  Princípio de funcionamento, peças e aplicação

Embrague centrífugo | Principio de funcionamien...

El embrague centrífugo es un tipo de embrague en el que se utiliza fuerza centrífuga para conectar el eje de transmisión del motor al eje de transmisión. Se coloca entre...

Embrague centrífugo | Principio de funcionamien...

El embrague centrífugo es un tipo de embrague en el que se utiliza fuerza centrífuga para conectar el eje de transmisión del motor al eje de transmisión. Se coloca entre...

Auditoria de ar comprimido – tudo o que você precisa saber sobre isso

Auditoría de aire comprimido: todo lo que neces...

El aire comprimido es sin duda uno de los medios más caros utilizados en diversas instalaciones industriales. Se trata de aire atmosférico que se mantiene a una presión mucho más...

Auditoría de aire comprimido: todo lo que neces...

El aire comprimido es sin duda uno de los medios más caros utilizados en diversas instalaciones industriales. Se trata de aire atmosférico que se mantiene a una presión mucho más...

Fundição Centrífuga – Tipos, Funcionamento, Vantagens, Desvantagens

Fundición centrífuga: tipos, funcionamiento, ve...

En este artículo, veremos el tipo de proceso de fundición: tipos de fundición centrífuga, principio de funcionamiento, ventajas de la fundición centrífuga, desventajas y aplicación de la fundición centrífuga en...

Fundición centrífuga: tipos, funcionamiento, ve...

En este artículo, veremos el tipo de proceso de fundición: tipos de fundición centrífuga, principio de funcionamiento, ventajas de la fundición centrífuga, desventajas y aplicación de la fundición centrífuga en...

Instalação pneumática na oficina – o que inclui?  Vantagens dos sistemas de ar comprimido

Instalación neumática en taller: ¿qué incluye? ...

Los talleres de automóviles suelen utilizar aire comprimido como medio de trabajo en dispositivos que permiten realizar trabajos de reparación y mantenimiento. Los sistemas neumáticos demuestran ser la mejor solución...

Instalación neumática en taller: ¿qué incluye? ...

Los talleres de automóviles suelen utilizar aire comprimido como medio de trabajo en dispositivos que permiten realizar trabajos de reparación y mantenimiento. Los sistemas neumáticos demuestran ser la mejor solución...

Caixa de engrenagens sincronizada – peças, funcionamento, diagrama, vantagens, aplicação

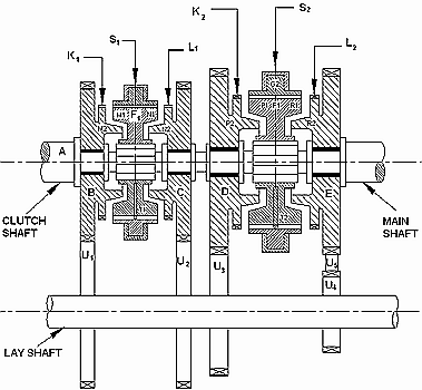
Caja de cambios sincronizada: piezas, funcionam...

Caja de engranajes sincronizada Este tipo de caja de cambios es similar al tipo de engranaje constante en que todos los engranajes del eje principal están en constante engrane con...

Caja de cambios sincronizada: piezas, funcionam...

Caja de engranajes sincronizada Este tipo de caja de cambios es similar al tipo de engranaje constante en que todos los engranajes del eje principal están en constante engrane con...