Indústria

Protegendo sua Máquina de Corte a Laser da Umidade

Protegendo sua Máquina de Corte a Laser da Umidade

Com a chegada da estação chuvosa, é essencial garantir que sua máquina de corte a laser esteja devidamente protegida contra a umidade. Afinal, a exposição à água e à alta...

Protegendo sua Máquina de Corte a Laser da Umidade

Com a chegada da estação chuvosa, é essencial garantir que sua máquina de corte a laser esteja devidamente protegida contra a umidade. Afinal, a exposição à água e à alta...

Produção de Chapas de Aço Silício: Corte a Jato de Água

Produção de Chapas de Aço Silício: Corte a Jato...

A produção convencional de chapas de aço silício usadas em motores e aparelhos elétricos é produzida pela instalação de moldes em prensas mecânicas. A matriz de estampagem a frio de...

Produção de Chapas de Aço Silício: Corte a Jato...

A produção convencional de chapas de aço silício usadas em motores e aparelhos elétricos é produzida pela instalação de moldes em prensas mecânicas. A matriz de estampagem a frio de...

Máquina de corte hidráulica: o guia definitivo

Visão geral Uma máquina de corte hidráulica é um tipo de máquina que usa uma lâmina superior móvel e uma lâmina inferior fixa para aplicar uma força de cisalhamento a...

Máquina de corte hidráulica: o guia definitivo

Visão geral Uma máquina de corte hidráulica é um tipo de máquina que usa uma lâmina superior móvel e uma lâmina inferior fixa para aplicar uma força de cisalhamento a...

Cálculo da força de corte de chapa metálica (com base na guilhotina hidráulica)

Cálculo da força de corte de chapa metálica (co...

Em comparação com as tesouras de placa comuns, a maioria das tesouras de placa rotativas adota uma lâmina oblíqua. Eles são amplamente utilizados devido à sua estrutura simples, baixa taxa...

Cálculo da força de corte de chapa metálica (co...

Em comparação com as tesouras de placa comuns, a maioria das tesouras de placa rotativas adota uma lâmina oblíqua. Eles são amplamente utilizados devido à sua estrutura simples, baixa taxa...

Operação de guilhotina: dicas e técnicas de especialistas

Operação de guilhotina: dicas e técnicas de esp...

Preparação antes de correr a. Familiarize-se com o conteúdo do manual e compreenda a estrutura principal da máquina, o método de operação e as precauções de segurança e manutenção. b....

Operação de guilhotina: dicas e técnicas de esp...

Preparação antes de correr a. Familiarize-se com o conteúdo do manual e compreenda a estrutura principal da máquina, o método de operação e as precauções de segurança e manutenção. b....

Guia de solução de problemas da máquina de corte mecânico

Guia de solução de problemas da máquina de cort...

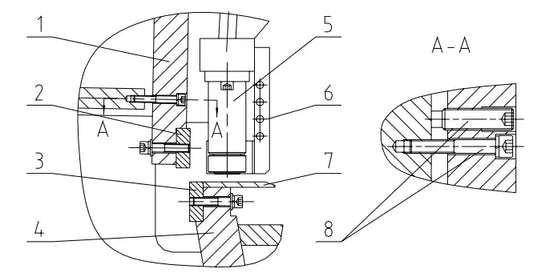
1. Princípio de transmissão de cisalhamento mecânicomáquina Conforme representado na Figura 1, o motor gira a polia grande através do uso de uma polia pequena. A polia grande, por sua...

Guia de solução de problemas da máquina de cort...

1. Princípio de transmissão de cisalhamento mecânicomáquina Conforme representado na Figura 1, o motor gira a polia grande através do uso de uma polia pequena. A polia grande, por sua...