Como projetar uma conexão momentânea

Como projetar uma conexão momentânea

O tipo de ligação a utilizar depende do tipo de estrutura e construção da estrutura. Em comparação com outras ligações, a ligação por momento é inevitável em estruturas de aço. É um tipo de conexão muito importante e útil.

Dois tipos de ligações podem ser observados em uma estrutura de aço.

  • Conexões de momento
  • Conexões de cisalhamento ou conexões simples

A comparação dessas juntas é a seguinte.

Conexão de momento Conexão de cisalhamento
outros nomes Conexão fixa ou rígida Conexão de parafuso ou dobradiça
Transmissão de energia na conexão Momento e cisalhamento Apenas tesoura
rotação Sem rotação relativa Conexão rotativa

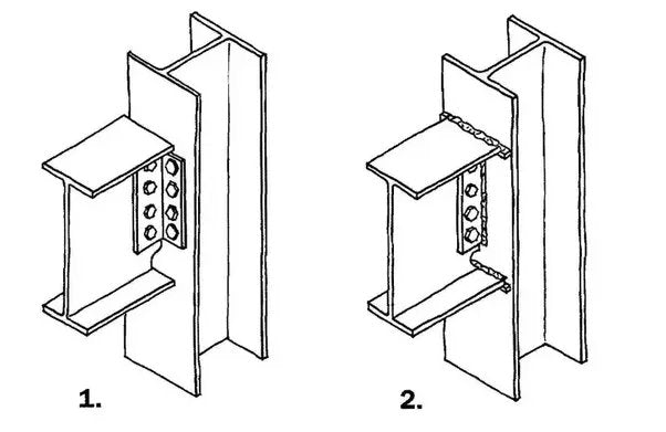
Além disso, o comportamento da conexão pode ser visto na figura a seguir.

A conexão tipo 1 pode girar livremente porque o banzo superior da viga não está restringido. Porém, na ligação tipo 2, os banzos superior e inferior estão conectados ao pilar e não permitem movimento relativo. Como nenhum movimento relativo é possível, esta ligação pode ser vista como uma ligação de momento.

Tipos de conexões de momento

O tipo de ligação é utilizado para definir as ligações de momento. Os seguintes tipos de conexão podem ser considerados conexões de transferência de momento.

  • Conexão aparafusada entre a placa final e o suporte

A disposição da placa final é a chave para transferir o momento da viga para o pilar

Imagem de stahlbau.info

  • Conexões de abas em vigas e apoios (abas de placa de cobertura aparafusadas)

Imagem de stahlbau.info

  • Conexões de abas em vigas e apoios (abas de placa final aparafusadas)

Imagem de stahlbau.info

  • Conexões soldadas

Imagem de stahlbau.info

  • Conexão da placa base da coluna

Projeto de conexões de momento

Com uma conexão de momento, transferimos todo o momento para o outro elemento. A rotação relativa não é levada em consideração. O momento de cálculo é levado em consideração para calcular o comprimento e o tamanho da solda. Além disso, as forças de compressão e tensão do parafuso também podem ser calculadas dependendo da força aplicada.

A imagem acima mostra o Distribuição triangular a força devido ao momento fletor induzido. Tendo em conta o equilíbrio da ligação, as forças de tensão do parafuso podem ser calculadas.

Se o comportamento dúctil da ligação for levado em consideração, a resistência total pode ser alcançada. Se a conexão for dúctil, Distribuição de plástico ser levado em conta. Neste caso, as forças de tração dos dois parafusos indicadas na figura acima são consideradas iguais.

Imagem de stahlbau.info

Depois de calcularmos as forças do parafuso, o diâmetro e a qualidade do parafuso podem ser selecionados. Além disso, a placa de conexão também deve ser verificada.

Métodos para fortalecer conexões de momento

Para aumentar a capacidade de carga da ligação de momento e evitar falhas devido às tensões induzidas, placas de reforço são adicionadas à ligação de momento.

O seguinte tipo de placas de reforço de coluna foi adicionado.

  • Contraventamento horizontal de profundidade total e profundidade parcial

Objetivo: Evitar erros de tensão da alma, melhorando o rolamento do flange e melhorando a compressão da alma.

  • Placas multiparedes adicionais

Objetivo: Melhorar a tensão, compressão e capacidade de cisalhamento da alma.

  • Reforços diagonais (Tipo N e Tipo K) e reforço Morris

Objetivo: Melhorar a tensão da alma, o rolamento do flange e o cisalhamento da alma.

  • Placas de suporte de flange

Finalidade: Reforçar o rolamento do flange.

Conexões de torque de soldagem

Em vez de conexões aparafusadas, as conexões soldadas também podem ser usadas como uma conexão de transferência total de torque. Uma combinação de conexões roscadas e soldadas também é possível.

O comportamento da ligação totalmente soldada não é o mesmo da ligação parafusada. As tensões induzidas no banzo e na alma do pilar poderiam ser iguais e as placas de reforço descritas acima poderiam ser utilizadas para reforçar a secção.

O tipo e o tamanho da solda podem ser determinados com base nas tensões aplicadas. Como o comprimento da solda para a conexão entre a placa final e o banzo da coluna é fixo, o tamanho da solda pode ser aumentado conforme necessário.

Ao utilizar juntas soldadas, atenção especial deve ser dada à qualidade da solda, pois depende unicamente da qualidade da solda.

Abaixo estão alguns artigos relacionados sobre projeto de estruturas de aço.

  • Projeto de ângulo único para tensão de tração de acordo com EC3
  • Dimensionamento de uniões roscadas de acordo com o Eurocode 3
  • Exemplo prático de construção de uma seção de ângulo único
  • Dimensionamento de pilares metálicos segundo EC3 – exemplo trabalhado
  • Projeto de coluna de aço de acordo com o Eurocode 3
  • Exemplo resolvido de construção de uma viga de aço (viga universal)
  • Flexão e torção (teoria e cálculo)
  • Construção de vigas de aço de acordo com BS 5950
  • Classificação da seção UB de acordo com BS 5950
Zurück zum Blog

Hinterlasse einen Kommentar

Kommentare müssen vor der Veröffentlichung genehmigt werden.